单电机最大功率100W!无感FOC算法驱动的无人机电调板方案

发布时间:2025-09-4 阅读量:3724 来源: 我爱方案网 作者: bebop

在现代无人机动力系统中,电子调速器(ESC)已从单纯的电机功率开关,演进为飞行性能的核心决定单元。其技术优势首先体现在高度集成化的系统架构与极致的性能输出上。当代先进电调板普遍采用32位微控制器(MCU)与三相全桥驱动方案,通过集成高分辨率、高刷新率的闭环控制算法,实现了对无刷电机相电流与反电动势的精准、无延迟采样。

电调的作用就是将飞控板的控制信号,转变为电流的大小,以控制电机的转速。因为电机的电流是很大的,通常每个电机正常工作时,平均有3A左右的电流,如果没有电调的存着,飞控板根本无法承受这样大的电流(另外也没驱动无刷电机的功能)。同时电调在四轴当中还充当了电压变化器的作用,将11.1V的电压变为5V为飞控板和遥控器供电。

为了满足无人机电调板行业更高效和更可靠方案的需求,我爱方案网推荐极海APM32F411低压无感FOC双电机参考方案,其中还搭配了2颗GHD3440电机专用栅极驱动器。整个方案兼具高效率、高可靠和高性比等优势;低噪音设计,可提供更好的用户体验;同时还配备完善的过流、过压、故障诊断等功能。

扫码可申请免费样片以及获取产品技术规格书

APM32F411低压无感FOC电调控制方案

方案前级通过APM32F411高性能高适配型MCU,集成两个高级定时器,每个高级定时器可输出三路带死区的互补 PWM,实现单芯片驱动两路BLDC 或 PMSM;集成两个12位高精度ADC分别对两路PMSM独立采样。后级则通过GHD3440电机专用栅极驱动器进行驱动信号放大,来控制MOSFET开关,最终实现对BLDC 或 PMSM的FOC控制。

图片

方案框图

图片

双电机应用于无人机电调

方案优势 

高算力控制: APM32F411主控芯片搭载Cortex-M4F内核,主频高达120MHz,可在单核内实现两路速度环、电流环双环运算,实现双路独立PMSM或BLDC控制;

丰富接口资源:集成U(S)ART、I2C、QSPI、SDIO、CAN等,既能满足无感/无感FOC控制、有感/无感方波控制,还能支持霍尔、磁编、光电等类型编码器;

执行效率高:MCU芯片以32KHz频率执行电流环,执行时间14μs,仅占执行周期的50%,剩余时间还可用于执行速度环、PFC、通信、显示等任务;

支持单/双电阻采样、三相反电势采样;

12V~72V DC宽电压输入,单电机最大功率100W。

图片

电路板实物图

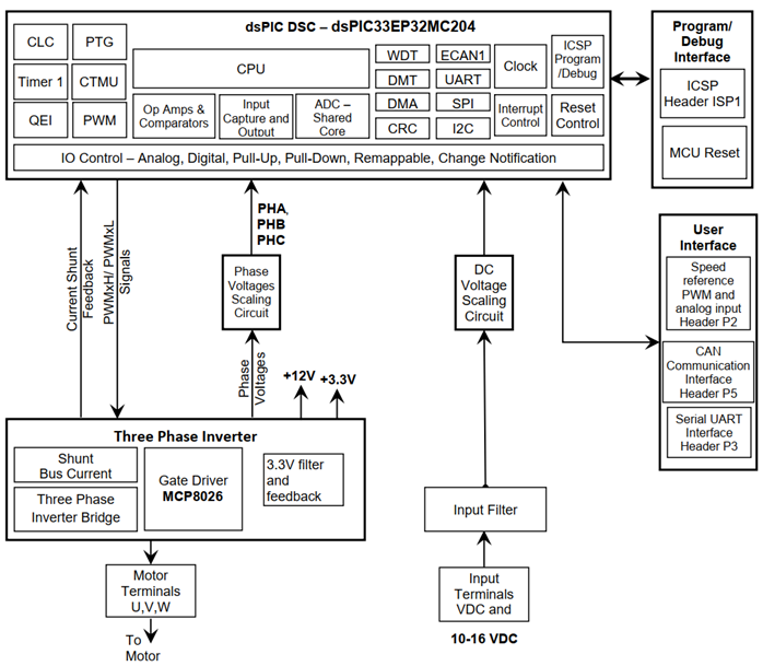
Microchip dsPIC33EP32MC204 无人机 FOC 电调方案

(图源大联大 下同)

FOC电调参考设计基于微芯dsPIC33EP32MC204开发设计,是一个低成本的评估平台,适用于四旋翼/无人机应用。螺旋桨由三相永磁同步或无刷电机驱动。

►方案方块图

图片

►核心技术优势

•三相电机控制功率级

•通过双分流电阻方法进行相电流反馈,以获得更高的性能

•相电压反馈,实现无传感器梯形控制或快速启动

•用于过电压保护的直流母线电压反馈

•使用Microchip编程器/调试器进行在线串行编程

•CAN通信

►方案规格

•输入电压:DC 11V~14V。

•极限电压:DC 20V。

•极限输入电流:10A。

•连续输出相电流:8A(RMS)

•峰值输出相电流:44A

•PWM输入:数字信号-PWM 50Hz,3~5V,4~55%占空比。

•模拟输入:0~3.3V

扫码可申请免费样片以及获取产品技术规格书


220x90
相关资讯
多系统支持:从裸机、RTOS到Linux/Debian,新品T153开发板工业场景全覆盖!

今年1月发布的MYD-YT153MX-MINI开发板精准切入国产核心板中端市场,以极致性价比获得了良好的市场反响。

低功耗、高精度、小体积!RTC助力扫地机器人实现高效智能作业

随着智能家居的普及,扫地机器人已从随机碰撞清扫升级为具备路径规划、定时启动、分区清扫等智能功能的规划式清扫设备。这些核心功能的实现,均依赖于一个稳定可靠的时间基准——实时时钟芯片(RTC)。

高精度时序支撑:以展频技术赋能智慧医疗,从源头抑制EMI干扰!

我们推出的YSO171PS系列可编程展频振荡器(SSXO),凭借自主研发的频率调制技术,从源头化解EMI难题,为智慧诊疗设备提供稳如磐石的时序支撑。

TCXO+OCXO时钟方案满足5G基站高精度频率需求!

我们依托在时钟频率器件领域的长期技术积累,打造了覆盖TCXO与OCXO系列的完整5G基站时钟解决方案,能够满足高精度同步与高可靠运行的网络需求,助力5G网络实现更优性能与更稳定服务。

630/2000A工商储系统并离网无缝切换开关方案上新:分闸时间≤15ms 无风扇设计 超小尺寸!

京硅智能KSiC1并离网无缝切换开关方案,切换时间≤15ms(相当于1/4个交流周波),实现了真正的“无感知”无缝切换。