发布时间:2026-02-4 阅读量:7383 来源: 我爱方案网 作者: bebop
无人机电调开发板的核心功能是将飞行控制器发出的控制信号转换为相应大小的驱动电流,从而精确调节电机转速,以实现飞行器在速度与动作上的既定控制要求。
由于无刷电机工作时所需电流较大,飞控板本身无法直接承受高负载电流,亦不具备直接驱动无刷电机的能力。因此,电调在系统中承担了两个关键角色:一是作为电机的供电与调速执行单元,二是作为飞控与电机之间的关键功率接口,实质上构成飞行控制指令与动力输出之间的必要衔接环节。
为帮助工程师快速导入可靠无人机方案,我爱方案网推荐极海APM32F411低压无感FOC双电机参考方案,其中还搭配了2颗GHD3440电机专用栅极驱动器。整个方案兼具高效率、高可靠和高性比等优势;低噪音设计,可提供更好的用户体验;同时还配备完善的过流、过压、故障诊断等功能。
扫码可申请免费样片以及获取产品技术规格书

APM32F411低压无感FOC电调控制方案
方案前级通过APM32F411高性能高适配型MCU,集成两个高级定时器,每个高级定时器可输出三路带死区的互补 PWM,实现单芯片驱动两路BLDC 或 PMSM;集成两个12位高精度ADC分别对两路PMSM独立采样。后级则通过GHD3440电机专用栅极驱动器进行驱动信号放大,来控制MOSFET开关,最终实现对BLDC 或 PMSM的FOC控制。

方案优势
高算力控制: APM32F411主控芯片搭载Cortex-M4F内核,主频高达120MHz,可在单核内实现两路速度环、电流环双环运算,实现双路独立PMSM或BLDC控制;
丰富接口资源:集成U(S)ART、I2C、QSPI、SDIO、CAN等,既能满足无感/无感FOC控制、有感/无感方波控制,还能支持霍尔、磁编、光电等类型编码器;
执行效率高:MCU芯片以32KHz频率执行电流环,执行时间14μs,仅占执行周期的50%,剩余时间还可用于执行速度环、PFC、通信、显示等任务;
支持单/双电阻采样、三相反电势采样;
12V~72V DC宽电压输入,单电机最大功率100W。


(图源大联大 下同)
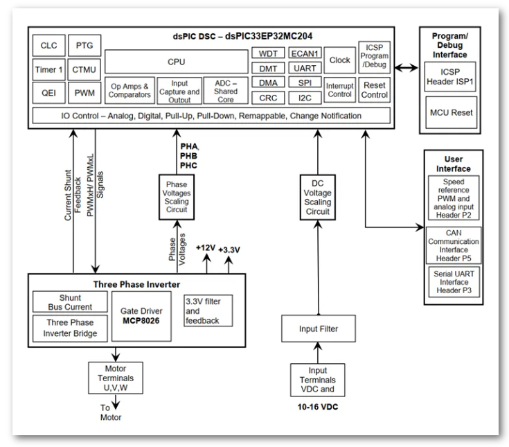
FOC电调参考设计基于微芯dsPIC33EP32MC204开发设计,是一个低成本的评估平台,适用于四旋翼/无人机应用。螺旋桨由三相永磁同步或无刷电机驱动。
►方案方块图

►核心技术优势
•三相电机控制功率级
•通过双分流电阻方法进行相电流反馈,以获得更高的性能
•相电压反馈,实现无传感器梯形控制或快速启动
•用于过电压保护的直流母线电压反馈
•使用Microchip编程器/调试器进行在线串行编程
•CAN通信
►方案规格
•输入电压:DC 11V~14V。
•极限电压:DC 20V。
•极限输入电流:10A。
•连续输出相电流:8A(RMS)
•峰值输出相电流:44A
•PWM输入:数字信号-PWM 50Hz,3~5V,4~55%占空比。
•模拟输入:0~3.3V
扫码可申请免费样片以及获取产品技术规格书

在光伏发电系统的技术演进中,逆变器作为连接新能源发电系统(光伏、风电)与电网的核心电力电子装置,负责将直流电(DC)转换为与电网同频、同相的交流电(AC)并馈入电网,并且能直接决定着电能转换效率、电能质量和系统稳定性。
随着人工智能技术的快速变革,安防监控摄像头融合了前沿的AI技术,从早期的图像记录发展到如今具备AI运算能力和算法,可进行目标识别、行为分析以及事件反馈,完成了从被动记录到主动预警的智能化升级。
FPGA技术具备专用集成电路(ASIC)的高性能与低延迟特性,还拥有通用处理器的灵活性,非常适用于对实时性、可靠性和定制化要求高的场景。
在上篇我们完成了 BLC、LSC、AWB 及 CCM 的客观标定、建立科学成像基准的基础上,本文将延续 ISP 调试流程,依次进行主观画质调试、IQ 文件配置与常见问题排查,直至实现全流程闭环落地。
瑞芯微RV1126B夜视摄像头方案集成新一代AI双ISP(图像信号处理)模块、夜视算法,具备强大的图像处理与硬件加速能力